- Популярные конструкции
- Из каких материалов можно сделать
- Древесина
- Металл
- Оцинкованный профиль
- Пластиковые элементы
- Кирпичи и глина
- Сетка
- Шифер
- Подручные материалы
- Строительство клеток для кроликов своими руками
- Клетки для кроликов Золотухина
- Инструкция по построению
- Немного про метод Золотухина
- Преимущества и отличия промышленных клеток от самодельных конструкций
- Назначение и устройство крольчатника
- Научные основы «михайловского» метода
- Как рассчитать размер клетки
- Как выбрать место
- Выбираем место
- Требования к закрытому помещению для кроликов
- Пошаговое строительство крольчатника
- Размеры клеток для кроликов Золотухина
- Как создать чертёж крольчатника
Популярные конструкции
Кролиководами-любителями и специалистами-животноводами разработано большое количество моделей клеток и сараев для разведения кроликов. Самыми популярными конструкциями считаются:
- клетка с двумя секциями;
- односекционная конструкция;
- семейного типа (трехсекционная);
- крольчатник с маточником;
- клетки Золотухина;
- мини-ферма Михайлова;
- цельнопроволочная.
Самая простая и удачная конструкция, которую можно построить своими руками, является двухсекционная.
Для экономии пространства клетки устанавливают несколько ярусов. Эта конструкция облегчает уход за животными и дает возможность сэкономить материал.
Двухместный крольчатник с маточником применяют для отсаживания самки при окроле. Для маточника используют съемное гнездовье — здесь содержат новорожденных крольчат, пока те не достигнут возраста в один месяц. Между основной частью клетки и кормовым отделением делают лаз размером 25×25 см.
Цельнопроволочные клетки лучше всего подходят на фермах или в условиях массового разведения. Вместе с преимуществами удобства ухода и простоты такие крольчатники имеют и значительный недостаток — для их размещения необходим сарай или отдельное помещение.
В «семейную» клетку можно разместить двух разнополых особей или двух самок с молодняком. Зоны между отделениями делают из сплошной или реечной деревянной перегородки либо сетки.
Односекционные крольчатники хоть и считаются самыми простыми в сооружении, на частных подворьях почти не применяются из-за невысокой эстетичности и гигиеничности конструкций.
Прежде чем построить крольчатник, нужно подготовить материалы и инструменты, которые будут необходимы в работе, а также нужно сделать необходимые замеры и составить чертеж будущей конструкции.
Из каких материалов можно сделать
Планируя сооружение кроличьих клеток, первое о чём стоит задуматься — выбор подходящих строительных материалов. В принципе, для сооружения простой конструкции, способной защитить животных от неблагоприятных внешних факторов, подойдут любые подручные средства.
В строительстве кроличьих ферм используют древесину и металл, оцинкованный профиль, пластиковые элементы, кирпичи, глину и даже промышленные поддоны. Несмотря на то, что для использования подходят практически любые материалы, к их выбору стоит подходить со всей ответственностью.
Древесина
С изготовлением деревянной клетки справится даже начинающий кроликовод
Древесина в строительстве клетки для кроликов используется очень широко. Из неё можно изготовить любые элементы конструкции. Именно из деревянного бруса обычно делают каркас будущей клетки. Популярностью у кролиководов также пользуется пол из деревянных планок.
Основными преимуществами материала являются экологичность и лёгкость обработки. Деревянным элементам можно без труда придать практически любую форму. Не стоит упускать из вида и прекрасные теплоизоляционные свойства древесины: зимой в деревянном крольчатнике будет тепло, а летом — не слишком жарко.
Из недостатков стоит выделить быстрое разрушение. Кролики обожают грызть всё вокруг, поэтому деревянные элементы внутренней отделки клетки быстро уничтожаются грызунами. Кроме того, древесина за счёт своей пористой структуры впитывает все запахи и жидкости, поэтому сплошной пол из дерева класть в клетке не рекомендуют.
Металл
Металл гораздо прочнее дерева, но работа с ним требует иного уровня мастерства
Металл в сравнении с древесиной является более прочным материалом для строительства. Кролики не могут прогрызть металлические элементы, их легко мыть и им не страшны насекомые. Правда, обработка металла требует наличия особых навыков у мастера, а также умения обращаться со специальными инструментами.
Каркас будущей клетки создают из металлических труб. Металл также применяют для внутренней отделки деревянных клеток, чтобы предотвратить прогрызание природного материала. А вот крышу и внешние стены клетки из металла делать не рекомендуется, так как на солнце они могут сильно нагреваться, а на морозе — промерзать, что чревато угрозой здоровью ушастых жильцов.
Оцинкованный профиль
Оцинкованный профиль используют в комбинации с другими материалами
В отличии от цельнометаллических элементов, укрепление или отделка клетки профилем не утяжеляет конструкцию, что особенно важно для переносных мобильных кроличьих клеток
Пластиковые элементы
Пластик лёгок и долговечен, но может выделять токсичные вещества на жаре
Пластиковые трубы могут стать альтернативой деревянному брусу и металлическим трубам. Долговечный и лёгкий материал позволяет создавать универсальные клетки для использования в любых условиях.
При работе с пластиком важно помнить о безопасности животных. Внутренние элементы конструкции, которые могут попасть «на зуб» кроликам, не должны быть сделаны из пластика. Животное может поранить рот или пищевод осколками, а также отравиться синтетическими веществами, входящими в состав материала
Животное может поранить рот или пищевод осколками, а также отравиться синтетическими веществами, входящими в состав материала.
Кирпичи и глина
Кирпичи и глину используют для строительства кроличьих клеток преимущественно в жарких регионах. Кирпичами выкладывают основания для домиков, а глиной промазывают швы. Такая клетка хорошо защищает животных от перегрева, так как кирпич обладает прекрасными теплоизоляционными свойствами.
Сетка
Стены клеток для кроликов делают сплошными, в виде решётки из планок, или изготавливают их из сетки. Наиболее удобным считается вариант с сеткой, которая должна иметь ячейки среднего или маленького размера и быть достаточно прочной.
Шифер
Наиболее практичным материалом для изготовления крыши в кроличьей клетке является шифер. Он прекрасно выполнит защитную функцию, при этом не перегреваясь на солнце и не боясь влаги.
Подручные материалы
Кролики — не самые прихотливые в уходе животные. В качестве временного жилья или в условиях критической экономии подойдут домики, изготовленные из подручных материалов. Изобретательные кролиководы приспосабливают под содержание грызунов старые бочки и контейнеры или же собирают многоэтажные конструкции из промышленных поддонов.
Каждый материал имеет особые свойства, которые могут стать как плюсом, так и минусом. Руководствоваться в выборе следует, опираясь на советы опытных кролиководов, индивидуальные условия (климат, порода животных и др.) и инструкции к популярным чертежам, если вы планируете их использовать.
Строительство клеток для кроликов своими руками
Создание конструкций начинается с подбора материалов. Основой служат деревянные бруски, обработанные антисептиками во избежание порчи древесины. Кроме каркаса следует позаботиться о стенах, поле, потолке, дверцах. Для отдельных частей конструкции подбирается соответствующий материал.
Для постройки клетки для кроликов потребуются:
- бруски;
- доски;
- фанера;
- сетка;
- деревянные рейки;
- металлическая проволока;
- шифер;
- поддоны из пластика;
- задвижки для дверей;
- петли;
- крепеж;
- бутылки для поилок.
Внутренние перегородки изготавливают из листов фанеры, используя такие ее качества, как крепость и влагостойкость. ДСП является неподходящим материалом, поскольку происходит впитывание влаги и разрушение вследствие набухания.
Перед установкой деревянные части ошкуривают и подвергают шлифовке. Нельзя оставлять острые края, чтобы животные не поранились о них. Выступающие части желательно обить железом. Высота ножек зависит от местоположения: при установке на улице их размер от 80 см, а в помещении вполовину ниже. Диаметр ячеек должен быть не более 2х2 см. При установке кроличьих клеток на открытом пространстве необходимо применение кровельных материалов. Крышу нежелательно делать металлической, поскольку ее сильное нагревание в жаркое время может привести к тепловому удару.
Клетки для кроликов Золотухина
Еще одна знаменитая концепция фермы для эффективного разведения кроликов. Николай Иванович Золотухин изучал жизнь кроликов в естественных условиях с малых лет и в расцвете своей карьеры разработал это удивительное сооружение, повышающее эффективность взращивания кроликов за счет активизации их естественных инстинктов.
Имеет ферма-клетка Золотуха три яруса, изготавливается достаточно просто. Давайте приступим к рассмотрению инструкции по ее изготовлению.
Клетки для кроликов Н.И. Золотухина
Чтобы построить клетку, нам понадобится:
- деревянные брусья;
- доски;
- металлическая сетка;
- листовое железо;
- качественный поликарбонат;
- шифер.
Инструкция по построению
Итак, прежде всего определим размеры будущей клетки:
- в ширину кроличье жилище составляет 2 метра;
- высота сооружения – 1,5;
- глубина конструкции не более 80 сантиметров;
- задний уклон пола – 5 сантиметров;
- сетка у задней стенки занимает 20 сантиметров;
- дверки делаются в форме квадрата с 40 сантиметрами длины одной стороны.
Приступаем к построению.
| Фото | Шаг |
| Шаг 1. Каркасы для клеток собираются по уже знакомой вам методике. Каждый из них делится на две равных половины, между которыми остается небольшое расстояние для размещения сенника. | |
| Шаг 2. Для пола на этот раз используется не сетка, а прочный шифер. Укладывая и прикрепляя листы шифера к каркасу, рассчитывайте, что от задней стенки нужно отступить 20 сантиметров. Это пространство покрывается сварной сеткой, через которую будут уходить испражнения ушастых. | |
| Шаг 3. Теперь приступим к изготовлению стен. Задние стены изготавливаются из листов карбоната под определенным углом. Верхняя часть каждой из стенок монтируется к окончанию шиферного пола следующего по высоте яруса. У самого верхнего яруса она прямая. Благодаря такой конструкции кроличий помет перекатывается по стенкам каждого из ярусов и в итоге попадает в поддон. | |
| Шаг 4. Делаем дверку для маточников и кормовых отсеков. В первом случае готовим ее из дерева и утепляем, чтобы создать нужные условия для крольчат. Во втором – делаем из сетки. | |
| Шаг 5. Гнезда для летнего содержания также делаются с сетчатыми стенками. От оставшегося пространства их отделяют дощатой перегородкой, которую затем можно снять и получить просторную клетку для молодняка. Зимние маточники деревянные, с закрытыми стенками. Вход в него также деревянный, с закрывающимся отверстием, нижняя часть которого соприкасается с полом. На пол устилается сено. | |
| Шаг 6. Делаем кормушки. Представляют собой эти приспособления лоток, занимающий большую часть стены клетки, находящейся спереди. Вставляется кормушка в клетку только на одну треть, дно ее выполняется под углом. Это нужно, чтобы кормушку можно было наполнить снаружи, не открывая при этом клетку. Также внутрь устанавливается поилка. |
Чертеж одного отсека клетки Золотухина
Чертеж клетки Золотухина с размерами
Клетки Золотухина знамениты и пользуются успехом уже многие десятки лет. Простое изготовление делает их популярными, а кролиководческий эффект от них потрясающий.
Немного про метод Золотухина
Николай Иванович Золотухин много лет занимается разведением пушных зверей, хорошо изучил их повадки и, обобщая свой опыт, создал собственный метод эффективного оснащения крольчатников.

Комбинированный пол выглядит именно так: немного наклонная большая сплошная передняя часть и сетка шириной 15-20 см у задней стенки крольчатника
Золотухин предлагает:
- Делать пол комбинированным: его передняя часть будет в виде наклонного настила из плоского шифера, а заднюю нужно выполнить из стальной сетки;
- Кормушки, в которые засыпают зерно, делают не просто бункерными, а поворотной конструкции: в этом случае их легко будет не только наполнять, но и вычищать.
Такая нестандартная поверхность пола выбрана Золотухиным не случайно, а на основе достоверных данных статистики и собственных наблюдений. Примерно 95% кроликов справляют малую нужду у задней стенки клетки. Как раз там, где располагается сетка. Туда же попадает 70% кала. Остальной кал животные разбрасывают по всему полу, но он сухой, поэтому вымести его гораздо проще.

Простая поворотная кормушка от Золотухина отличается от обычной бункерной тем, что её можно развернуть, несильно потянув на себя
Подстилку, которая бы поглощала влагу, Николай Иванович использует только для того, чтобы приучить молодняк мочиться у задней стенки помещения. В его постройках всегда сухо, и времени на уборку ему приходится тратить меньше, чем другим. Подробно о методе Золотухина смотрите в видео.
Преимущества и отличия промышленных клеток от самодельных конструкций
Сравнивая промышленные модели кроличьих клеток с самостоятельно проектируемыми и изготавливаемыми конструкциями, можно отметить ряд преимуществ и отличий первых, а именно:
- промышленные клетки, как правило, отличаются проработанностью конструкции, учитывающей все особенности содержания животных (поддоны для помёта, гнёзда, кормушки и т. д.) и обеспечивающей удобство их эксплуатации;
- промышленные конструкции позволяют содержать максимальное число животных даже в сравнительно небольших помещениях;
- материалы, используемые для изготовления промышленных клеток, обычно обеспечивают гораздо большую их долговечность по сравнению с самодельными сооружениями, нередко сделанными из не очень подходящих подручных материалов.

Назначение и устройство крольчатника
Существует два значения слова «крольчатник»: помещение с клетками для кролей и соединенные между собой вольеры. Чаще всего такие мини-фермы устанавливаются на открытом воздухе.
Большинство кролиководов отдают предпочтение крольчатнику в виде хорошо освещенного, проветриваемого и обогреваемого помещения. Клетки для кроликов устанавливаются ярусами. В регионах с теплым климатом используются уличные многоклеточные конструкции с навесом.
Создавая чертежи для крольчатника важно соблюсти следующие требования:
- Обеспечить кролям комфортные условия проживания.
- Сделать вольеры комфортными для размножения и последующего выращивания потомства.
- Высота и ширина помещения должны подходить для свободного перемещения кроликовода между клетками.
- Оборудовать вольеры удобной системой очистки от помета.
Научные основы «михайловского» метода
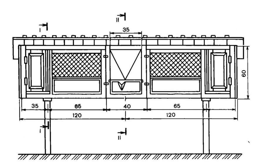
Как рассчитать размер клетки
Кролиководства – это целая наука. Поэтому в советское время существовали институты, которые занимались научным походом к выведению кроликов. Так вот в одном НИИ были разработаны рекомендации, касающиеся размеров кроличьих клеток.
Оптимально считалось, что клетка для кролика должна быть двухсекционной. В одной секции устанавливали кормушки и поилки, во второй закладывали сено. Оно являлось гнездом для выведения потомства.
Так вот размеры такой клетки были: длина 220-240 см, ширина 65 см, а вот высота передней и задней стенки были разными. Таким способом добивалось сооружение скошенной крыши. Так вот высота передней стенки составляло 65 см, задней 35 см.

Сегодня к размерам кролиководы относятся не так ответственно. Но специалисты считают, что у одного зверька должно быть определенное пространство. И оно не должно быть меньше 0,8 м³.
Как выбрать место
Кролики менее чувствительны к холоду, чем к зною, поэтому в клетки не должен проникать прямой солнечный свет. Желательно сделать над крольчатником навес, защищающий и от палящего солнца, и от осадков. Кролики восприимчивы к сквознякам, поэтому выбранное место должно быть огорожено от ветров постройками или густой растительностью.

Многие фермеры строят своими руками кролятники близ сарая, где хранится корм. В этом случае не приходится бегать туда-сюда, чтобы накормить большое поголовье.
Нельзя сооружать крольчатники близ компостной кучи. Она – источник множества патогенных микроорганизмов, способных вызвать у кроликов инфекционные патологии. Также питомцы заболевают, когда живут в сырости. Поэтому для возведения крольчатника выбирают сухое и возвышенное место.
Не стоит селить кроликов близ хлева, курятника, собачьей конуры. Шум, издаваемый другими животными, будет пугать ушастых зверьков. А стресс негативно сказывается на состоянии кроличьего организма.

Выбираем место
При выборе места будущего проживания животных и установки их домиков-клеток, нужно обратить внимание на некоторые параметры выбранной территории. Клетки для ушастых подопечных можно размещать:
Клетки для ушастых подопечных можно размещать:
- на улице;
- в закрытом помещении.

Существуют определенные требования к месту размещения кроличьих клеток
Разумеется, первый вариант подходит лишь тем хозяйствам, которые располагаются на территории южных регионов со стабильно теплым и мягким климатом. В противном случае, в зимнее время животные не выдержат на улице без укрытия. Если вы с кроликами планируете проживать как раз в таком благодатном месте, учитывайте следующие правила.
- Норма увлажненности воздуха, которую хорошо переносят кролики, имеет верхнюю границу в 75%. Перенести ее больший процент они не смогут физически, начнут чахнуть и болеть. Исходя из этого, выбрать место для установки клеток следует сухое, находящееся далеко от водоемов, лучше всего на возвышенности.
- Существуют рекомендации, касающиеся и солнечных лучей. Ушастые любят погреться под ними лишь в мультиках, в жизни это принесет один лишь вред и приведет к повальным заболеваниям и гибели животных. Чтобы прямые солнечные лучи не попадали на клетки, установите их в тени садовых деревьев или организуйте навесы. Если кролиководство – дело всей вашей жизни, можно насадить кустовую изгородь, которая станет рассеивать солнечные лучи, пропуская через себя.
Следующее продолжение списка рекомендаций актуален как для содержания кроликов в уличных условиях, так и в комнатных.
- Одна из основных задач при содержании кроликов – не допустить внутри их домиков разгула сквозняков. По статистике, именно продувания являются наиболее частой причиной, провоцирующей заболевания ушастого поголовья. Если ветряные порывы будут превышать скорость в 30 метров за 1 секунду, животным будет очень непросто сохранить здоровье.
- Однако не стоит и превращать образ жизни кроликов в тепличный. Качественная вентиляция – важнейшее условие правильного содержания животных. Если она будет недостаточной, испражнения животных, испаряясь, заразят организмы вреднейшими токсинами.
- Зимой клетки животных необходимо утеплять. Если они содержатся в отапливаемом сарае, достаточно лишь включить обогреватель. Однако, если отопления нет и стены, защищающие от холодов, также отсутствуют, обязательно утеплять сами ячейки. Температура внутри них не должна упасть ниже +10 градусов. Не желательно и превышать отметку в +20 градусов, так как эта температура уже считается слишком жаркой для пушистых.
Требования к закрытому помещению для кроликов
Содержание в холодных климатических зонах подразумевает обязательное наличие убежища – сарая или другого домика, в который устанавливаются клетки для животных. К этому помещению также представлен перечень требований, которые необходимо удовлетворить для успешного разведения пушистых.
Окна сарая следует размещать на южной или юго-восточной стороне, чтобы увеличить для животных световой день, а также поступление тепла от согревающих лучей солнца.
Придется дополнительно оснастить помещение лампами и обогревателями, так как в короткие зимние световые дни кролики остро ощутят нехватку тепла и света. Можно «убить двух зайцев» и оснастить крольчатник красными лампами, дающими одновременно и свет и тепло. При небольших размерах площади крольчатника, этого будет достаточно, чтобы справиться с негативными последствиями суровых зимних морозов, характерных для климата нашей страны.
Оштукатуривание стен также обязательно, так как позволит соблюдать гигиену в помещении и предотвратит проникновение излишней влажности внутрь помещения, где содержатся ушастые.
Сами клетки внутри домика необходимо разместить так, чтобы к ним постоянно поступал воздух. Открытой частью они должны смотреть на восточную стену, так как это расположение наиболее благоприятно для хорошего самочувствия кроликов.
Обязательно следует организовать внутри своеобразные полки – подпорки, чтобы установить на них клетки. Высота таких подпорок должна составлять около метра
Эта мера предосторожности поможет избежать покусов кроликов мышами или крысами, разрушений клеток, а также поможет облегчить уход за животными и их домами.
Пошаговое строительство крольчатника
Первым делом нужно подобрать необходимый чертеж крольчатника. В этом случае советуем воспользоваться помощью тематических интернет ресурсов.

Чтобы создать удобный крольчатник для дачи, используйте деревянные бруски высокого качества. Исходя из чертежа, вы начинаете делать стандартный фундамент. Его делают из дерева, путём сооружения прочного пола.

Затем начните прикреплять вертикально деревянные бруски к полу, используя саморезы. Чтобы сделать всё правильно, используйте дополнительные интернет источники.

После того, как каркас будет сделан, он соединяется с крышей и полом.

После чего утепляем стены строительным пенопластом, а потом всё обшиваем деревом.

Предварительно оставив место для дверцы, начинаем устанавливать уже готовую сетчатую дверь. Приобрести её можно во многих специализированных магазинах.


Размеры клеток для кроликов Золотухина
Клетки Н. И. Золотухина широко известны среди кролиководов. Отличительными чертами конструкций считаются:
- Отсутствие поддонов.
- Деревянный или шиферный пол.
- Наклонная установка задних стенок.
- Возле задней стены в пол встраивается сетка.
Размеры клетки с маточником, который также убирается, составляют 0,7 на 1 м. Для обеспечения безопасности детенышей перед дверью устанавливают досочку. Маточник находится в общей клетки, отгораживается от остального пространства дополнительной доской. Возможно размещение кормовых отделений друг над другом. В интернете можно встретить клетки, установленные в 3 яруса, фото, размеры, чертежи которых также доступны кролиководам.
Выделяют также клетки Маклякова – модульные системы, в которых можно легко изменить назначение ячейки. В конструкции используют поилки с подогревом и современные системы удаления отходов. В кормовом отделении применяют инфракрасный обогрев.

Как создать чертёж крольчатника
Разумеется, чертеж отдельной клетки или целого крольчатника можно сделать и самостоятельно, или просто подогнать любой из приведенных выше вариантов под свои размеры. Главный параметр, который нужно знать — количество кроликов, которых планируется содержать в клетке.

Так выглядит правильная работа над чертежом
- На одно молодое животно требуется минимум 0,1-0,2 м2. Для комфортного проживания эту нормы стоит увеличить до 0, 5 м2. Самцам, которых планируется пустить в размножение, нужно в 2 раза больше места.
- Взрослому животному необходимо минимум полметра свободного пространства. В идеале – метр, чтобы иметь возможность полноценно двигаться.
- Вля кроликов крупных пород эти нормативы необходимо увеличить. Размеры должны быть такими, чтобы зверек мог свободно вытянуться в полную длину вдоль клетки, не упираясь телом в стенки, и мог сидеть, не задевая ушами крышку.
- В маточнике обязательно должно быть отдельное гнездо. Его типовые размеры — 40 см х 40 см х 30 см.
Когда размеры определены, можно приступать к чертежу. Начать следует с расчерчивания вида сверху: нарисовать прямоугольник требуемых размеров, при необходимости разделить на отсеки. Затем, на чертеже обозначаются все элементы: перегородки, двери, лазы, кормушки и пр. Везде проставляются размеры. На основе вида сверху чертится вид сбоку. Воображаемый разрез должен проходить через самое технологически сложное сечение, к примеру, по гнезду маточника. Размеры должны совпадать
Можно начертить вид снизу, уделив особое внимание ножкам и опорной конструкции




































